Kuvaus

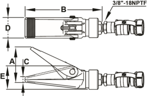
| Levittimet | ||||||||
| Nimike | Teho (tn) | Öljytilavuus (cc) | A (mm) | B (mm) | C (mm) | D (mm) | E ( mm) | Paino (kg) |
| SR05 | 0.5 | 10 | 90 | 192 | 13 | 52 | 60 | 2,2 |
| SR10 | 1 | 14 | 99 | 167 | 12 | 55 | 56 | 2,3 |
© 2019
BVA:n levittäjät sopivat moniin eri käyttötarkoituksiin, kuten esimerkiksi laippojen levittämiseen, nostamiseen ja koneikkojen linjaukseen. Perusmallisto kattaa levittäjät tehoalueelta 0,1–1 tn – tutustu suurempia tehovaatimuksia varten BVA:n 14 tonnia levittäviin kiilalevittimiin.
Lisää merkiltä BVA Hydraulics >>

| Levittimet | ||||||||
| Nimike | Teho (tn) | Öljytilavuus (cc) | A (mm) | B (mm) | C (mm) | D (mm) | E ( mm) | Paino (kg) |
| SR05 | 0.5 | 10 | 90 | 192 | 13 | 52 | 60 | 2,2 |
| SR10 | 1 | 14 | 99 | 167 | 12 | 55 | 56 | 2,3 |
Viljelijäntie 8
00410 HELSINKI

